陶瓷霧化片 Atomization Piece
陶瓷晶振 Ceramic SMD crystal
陶瓷濾波器 CeramicFilter
聲表面濾波器|諧振器 SAW filter
千赫晶體KHZ KHz Crystal
石英晶振 Quartz Crystal
貼片晶振 SMD crystal
NJR晶振
應達利晶振
日本大真空晶體 KDS晶振
精工晶振 SEIKO晶體
日本村田陶瓷晶振
西鐵城晶振 CITIZEN晶振
愛普生晶振 EPSON晶振
NSK晶振 NSK晶振
大河晶振 大河晶振
CTS晶振 美國CTS晶振
TXC晶振 TXC晶振
鴻星晶振 鴻星晶振
加高晶振 加高晶振
百利通亞陶晶振 百利通亞陶晶振
泰藝晶振 泰藝晶振
京瓷晶振 京瓷晶振
NDK晶振 NDK晶振
希華晶振 希華晶振
富士晶振 富士晶振
MERCURY晶振
NAKA晶振
SMI晶振
安基晶振
NKG晶振
Renesas瑞薩晶振
ITTI晶振
CTS晶振
Abracon晶振
微晶晶振
瑞康晶振
FOX晶振
Statek晶振
ECS晶振
IDT晶振
高利奇晶振
SiTime晶振
日蝕晶振
康納溫菲爾德晶振
Jauch晶振
維管晶振
拉隆晶振
格林雷晶振
Pletronics晶振
AEK晶振
AEL晶振
Cardinal晶振
Crystek晶振
Euroquartz晶振
Frequency晶振
GEYER晶振
ILSI晶振
KVG晶振
MMDCOMP晶振
MtronPTI晶振
QANTEK晶振
QuartzCom晶振
QuartzChnik晶振
SUNTSU晶振
Transko晶振
WI2WI晶振
韓國三呢晶振
ARGO晶振
ACT晶振
Milliren晶振
韓國Lihom晶振
rubyquartz晶振
美國Oscilent晶振
韓國SHINSUNG晶振
PDI晶振
C-TECH晶振
IQD晶振
Microchip晶振
Fortiming晶振
CORE晶振
NIPPON晶振
NIC晶振
QVS晶振
Bomar晶振
Bliley晶振
GED晶振
FILTRONETICS晶振
STD晶振
Q-Tech晶振
Anderson晶振
Wenzel晶振
NEL晶振
EM晶振
德國PETERMANN晶振
荷蘭FCD-Tech晶體
HEC晶振
FMI晶振
Macrobizes晶振
德國AXTAL晶振
Silicon晶振
SKYWORKS晶振
DEI晶振
石英晶體振蕩器 石英晶體振蕩器
壓控晶振 壓控晶振
溫補晶振 溫補晶振
壓控溫補晶振 壓控溫補晶振
恒溫晶振 恒溫晶振
差分晶振 差分晶振
32.768K有源晶振 32.768K有源晶振
座機: 0755-27876565
手機: 18924600166
E-mail:yijindz@163.com
QQ:857950243
地址:深圳市寶安區新安107國道旁甲岸路
鴻星晶振,E49A晶振,兆赫茲晶體諧振器
.jpg)

Hosonic成立于1979年初,生產的電阻器和電容器,而轉向注重水晶產品自第一液晶生產線在臺灣設立1991.此后,公司擴大了其在中國大陸生產.現在,它擁有四個生產設施在中國大陸東,南,和九個銷售和FAE位點和十個銷售代表和經銷商在世界各地.
Hosonic現在是一個領先的專業晶體諧振器、晶體振蕩器制造商在世界上,致力于直插和貼片晶體振蕩器的研發,生產和銷售.
鴻星晶振,E49A晶振,兆赫茲晶體諧振器.公司建立平臺有機的學習鼓勵跨職能團隊的工作保持更好的環境和產品改進.
我們投資在團隊能力,基礎建設是為了讓客戶每個產品的心臟都健康的跳動.
因此鴻星建立有機學習成長的平臺,激勵跨單位團隊合作的活動,要為更好的環境與產品不斷的改善.
鴻星的核心精神:誠信負責,團隊合作,專業創新、積極成長.HOSONIC以先進技術,優異質量,完善服務,成為晶體產業最具競爭優勢的品牌.
優秀同仁是公司無價的資產,也是公司成長發展的伙伴,更是維系公司競爭力與創造價值的命脈.在以人為本,充分尊重人性的理念上,我們以溝通來達成共識,以相互尊重維系組織和諧氣氛,創造適性的工作環境,讓鴻星成為一個高度凝聚力的大家庭.我們要求同仁自我管理,并不斷的成長進步,讓員工有能力于工作,意愿于工作并滿意于工作,鼓勵員工去達成公司指定的目標.
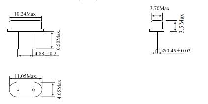
鴻星電子已經成為全球從事石英頻率控制組件的重要制造商之一,致力于插件式(DIP)與表面黏著式(SMD)石英晶體系列產品之研發,設計,生產與營銷.訂購熱線0755-27876565.引腳焊接型石英晶體元件,大量的標準頻率,高精度的頻率和晶體本身更低的等效串聯電阻,更低的成本和更高的批量生產能力,應用于電視,機頂盒,LCDM和游戲機的最佳選擇,符合RoHS/無鉛

| 型號 | E49A |
| 頻率范圍 | 3.2~66.000MHZ |
| 振動方式 | Fundamental |
| 負載電容 | 10pF to Series |
| 精確度 | ±10ppm,±30ppm,50ppm(At25) |
| 工作溫度 | -20~70℃/-30~85℃ Option |
| 存儲溫度 | -55~125℃ |
| 并聯電容 | 7pF max |
| 老化率 | ±5ppm max.(At 25℃,第一年) |
| 包裝 | 200pcs/bag |


.jpg)
公司:深圳市億金電子有限公司Shenzhen yijin electronic co., LTD
電話:0755-27876565
手機:18924600166
QQ:857950243
郵箱:yijindz@163.com
網站:http://www.py519.com






銷售代表